欢迎来到MK官方端网站登录入口-MK体育(中国)

您当前所在的位置:主页 > 产品中心 > 起重吊钳系列 >
LIFTING CLAMP SERIES
起重吊钳系列

单板起重吊钳(PDQ型)

单板起重吊钳(PDQ型)

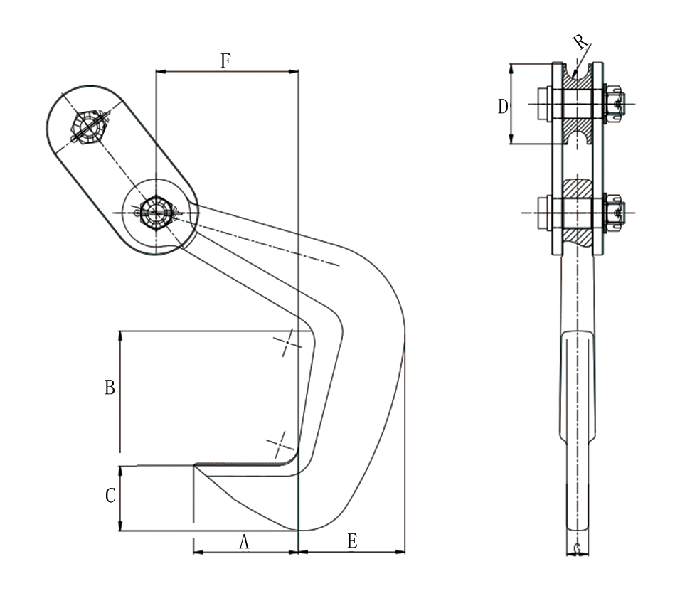
1、用于单块或多块钢板的水平吊运。 2、额定载荷指吊钳成对使用、吊点夹角为60度时允许起吊的最大载荷。 3、吊装作业中4只配套使用,必须与平衡梁配套,吊运过程中不得碰撞被吊物

全国咨询热线:

更多联系方式
-产品详情- -产品参数-
1、用于单块或多块钢板的水平吊运。
2、额定载荷指吊钳成对使用、吊点夹角为60度时允许起吊的最大载荷。
3、吊装作业中4只配套使用,必须与平衡梁配套,吊运过程中不得碰撞被吊物。
4、可自动脱钩。
5、试验载荷为额定载荷的2倍,破断载荷为额定载荷的4倍。
6、在使用前请详细阅读产品使用说明书。

产品参数

相关产品

创造客户价值 助力客户成功

MK官方端网站登录入口-MK体育(中国)凭借着高新的技术、优异的品质及良好的服务赢得了客户点赞,在国内外众多企业大放异彩!

COPYRIGHT© MK官方端网站登录入口-MK体育(中国) ALL RIGHTS RESERVED